發布 2013.08.03 12:10
新聞跑馬燈
最新報導
2013.08.03
-
留言 -
留言發布 2013.08.03 10:32
「晚上凱道見!」 萬人送仲丘今晚討正義
-
留言發布 2013.08.03 00:40
西出軌列車 時速飆179公里
-
留言發布 2013.08.03 00:04
消基會調查:逾4成食品含鋁 長期食用恐傷腦
2013.08.02
-
留言發布 2013.08.02 23:41
新北市水上巴士擴大營運 3日起增班
-
留言發布 2013.08.02 23:31
樂在棒球 新北市力推全民社區棒球聯賽
-
留言發布 2013.08.02 23:06
經濟部證實 林宗堯請辭核四安檢顧問一職
-
留言發布 2013.08.02 19:40
罕爸歌聲分享愛 盼同理心解決人心崩壞
-
留言發布 2013.08.02 18:55
民進黨團:絕不讓步 佔議場抗爭到8/6
-
留言發布 2013.08.02 18:36
獲「星天賦」百萬圓夢獎金 吳昇耀出國深造
-
留言發布 2013.08.02 18:02
綠委將持續佔議場?藍:輪班搶主席台
-
留言發布 2013.08.02 17:40
蘇貞昌:人民力量一定會打贏核四公投
-
留言發布 2013.08.02 17:30
IMF: 日本安倍經濟學是全球經濟風險之一
-
留言發布 2013.08.02 17:22
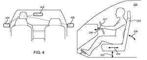
蘋果新專利:用iPhone設定汽車和居家環境
-
留言發布 2013.08.02 17:10
推理小說家伊坂來台 與粉絲面對面
-
留言發布 2013.08.02 17:07
綠委:黑畫面鏡頭6/24才裝好 哪來老舊?
-
留言發布 2013.08.02 16:56
現場失控!立院鐵柵欄遭反核群眾扳倒
-
留言發布 2013.08.02 16:14
走過10年 台少盟爭取18歲就有投票權
-
留言發布 2013.08.02 16:00
台北流行音樂季起跑 「野台開唱」強勢回歸
-
留言發布 2013.08.02 15:30
美俄關係因史諾登被庇護再現緊張