發布 2014.03.14 17:43
新聞跑馬燈
最新報導
2014.03.14
-
留言 -
留言發布 2014.03.14 17:33
再口誤?總統稱「鹿茸」是鹿耳朵裡的毛
-
留言發布 2014.03.14 17:05
自拆組合屋 王廣樹:兒子可能受威脅
-
留言發布 2014.03.14 16:47
誇張!醫生開嗎啡為70多歲母親治療經痛
-
留言發布 2014.03.14 16:14
柯文哲現象 許信良:民進黨別被法規綁死
-
留言發布 2014.03.14 16:03
謝長廷:整合被當蘇謝交鋒 委屈但沒關係
-
留言發布 2014.03.14 15:51
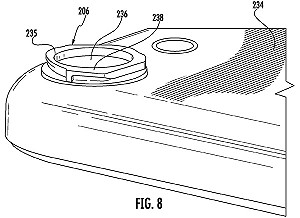
蘋果新專利 iPhone外接鏡頭更便利
-
留言發布 2014.03.14 15:16
譚慎格:台灣需回答 要成為中國一部份嗎?
-
留言發布 2014.03.14 15:11
抗議美政府網路監控 祖克伯致電歐巴馬
-
留言發布 2014.03.14 14:57
長沙又傳街頭砍人事件 4人死亡
-
留言發布 2014.03.14 14:48
紙貓熊快閃捷運 加入台灣黑熊成「雙熊會」
-
留言發布 2014.03.14 14:35
秀王耀德自拆證據 同意戶:拆了很開心
-
留言發布 2014.03.14 14:23
和同意戶爆衝突 士林王家:這是我家!
-
留言發布 2014.03.14 14:08
綠在野整合方案決納入柯文哲、馮光遠
-
留言發布 2014.03.14 14:01
「重兵」搜救馬航 鄰國憂中國擴權
-
留言發布 2014.03.14 13:50
新花市恐讓週邊塞爆? 郝:必要時啟交維計畫
-
留言發布 2014.03.14 13:35
江宜樺:勞動部將全面返還關廠工人借款
-
留言發布 2014.03.14 13:17
美國擬偏離馬航航道 轉向西北搜索
-
留言發布 2014.03.14 12:32
遭媒體邊緣化 丁守中:盡快舉行市政辯論
-
留言發布 2014.03.14 12:22
藍下週再審服貿 綠揚言加倍奉還