發布 2012.08.24 15:18
新聞跑馬燈
最新報導
-
留言 -
留言發布 2012.08.24 15:02
關中:政務官要有擔當 言所當言
-
留言發布 2012.08.24 13:50
韓國法院判三星蘋果互相侵權
-
留言發布 2012.08.24 13:07
台聯新總召:發揮關鍵少數力量
-
留言發布 2012.08.24 12:57
失聯27年丈夫欠稅 配偶竟被限制出境
-
留言發布 2012.08.24 12:52
德法領袖會談 籲希臘實行緊縮政策
-
留言發布 2012.08.24 12:40
天秤降雨量驚人 恆春日雨量破紀錄
-
留言發布 2012.08.24 12:26
臉書推iOS新APP 速度快2倍
-
留言發布 2012.08.24 12:07
對立升高 日本暫緩收購韓國國債
-
留言發布 2012.08.24 11:39
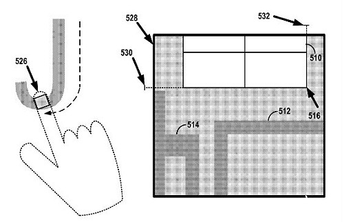
Google新專利 手套手勢可輸入
-
留言發布 2012.08.24 10:54
生產過剩 中國庫存難消
-
留言發布 2012.08.24 09:30
天秤屏東出海 南臺灣今仍須警戒
-
留言發布 2012.08.24 09:11
NASA派憤怒鳥乘好奇號征戰火星
-
留言發布 2012.08.24 04:08
微軟換標誌 25年來首次
-
留言發布 2012.08.24 03:19
惡作劇影片:最強壯的女童軍
-
留言發布 2012.08.24 02:33
真實版睡美人 張眼就嫁陌生人
-
留言發布 2012.08.24 00:31
選票會說話 公視董事藍綠互砍3人
2012.08.23
-
留言發布 2012.08.23 23:58
天秤來襲 今晚至明天全台戒備
-
留言發布 2012.08.23 23:47
涉插股賭場 刑事局主秘許瑞山聲押
-
留言發布 2012.08.23 23:43
「天秤」逼近 高雄全面備戰