發布 2012.08.24 12:26
新聞跑馬燈
最新報導
2012.08.24
-
留言 -
留言發布 2012.08.24 12:07
對立升高 日本暫緩收購韓國國債
-
留言發布 2012.08.24 11:39
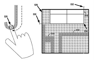
Google新專利 手套手勢可輸入
-
留言發布 2012.08.24 10:54
生產過剩 中國庫存難消
-
留言發布 2012.08.24 09:30
天秤屏東出海 南臺灣今仍須警戒
-
留言發布 2012.08.24 09:11
NASA派憤怒鳥乘好奇號征戰火星
-
留言發布 2012.08.24 04:08
微軟換標誌 25年來首次
-
留言發布 2012.08.24 03:19
惡作劇影片:最強壯的女童軍
-
留言發布 2012.08.24 02:33
真實版睡美人 張眼就嫁陌生人
-
留言發布 2012.08.24 00:31
選票會說話 公視董事藍綠互砍3人
2012.08.23
-
留言發布 2012.08.23 23:58
天秤來襲 今晚至明天全台戒備
-
留言發布 2012.08.23 23:47
涉插股賭場 刑事局主秘許瑞山聲押
-
留言發布 2012.08.23 23:43
「天秤」逼近 高雄全面備戰
-
留言發布 2012.08.23 23:37
救中小企業與失業勞工 北市提曙光計畫
-
留言發布 2012.08.23 22:28
中天稱無不實報導 黃國昌要NCC有作為
-
留言發布 2012.08.23 22:03
全台24日停班停課最新情形
-
留言發布 2012.08.23 20:21
盛竹如配音 網友:武俠片變喜劇片
-
留言發布 2012.08.23 20:10
消暑妙招 貓咪頂西瓜皮防曬
-
留言發布 2012.08.23 19:53
傳日首相將在11月改選國會
-
留言發布 2012.08.23 19:29
訪UN糧倉被拒 NGO指非會員國是主因